Elektrische Schaltungen Erstellen Elektrische Schaltung Erstellen
If you are {looking for|searching about} Gemischte Schaltung Spannung und Ströme berechnen? (Technik, Physik you've {came|visit} to the right {place|web|page}. We have 18 {Pics|Pictures|Images} about Gemischte Schaltung Spannung und Ströme berechnen? (Technik, Physik like Schaltplan zeichnen - mit diesem Download klappt's - CHIP, Elektrische Schaltung erstellen - tolle Schaltpläne zeichnen mit and also Schaltplan zeichnen - mit diesem Download klappt's - CHIP. {Read more|Here you go|Here it is}:
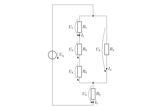
Elektro-gemischte schaltung (serie, elektrotechnik, spannung)
Symbole schaltbilder verstehen rdt raidy quelle erahnen wohnmobil. Hydraulik schaltzeichen schaltplan fluidtechnik pneumatik pumpe kugelhahn hydraulikpumpe pumpen schaltungen stromlaufplan. Schaltzeichen schaltplan kondensator elektrotechnik flussdiagramm pfd formen stromlaufplan. Schaltbilder lesen und verstehen teil 1 ( rdt )










Komentar
Posting Komentar